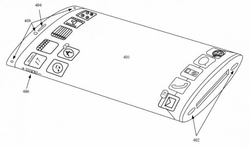
وافق مكتب براءات الاختراع الأمريكي اليوم على طلب براءة أختراع جديدة لشركة آبل تتمثل في شاشة تلتف من داخل الجهاز لعرض البيانات .
وفي تفاصيل براءة الاختراع هذه فانها عبارة عن هاتف محمول وله غلاف شفاف مصنوع من الزجاج ومقاوم للماء والاتربة والشاشة مرنة وملتفة لتعرض محتوياتها من أي جانب للغلاف الشفاف.
وفي بيانات براءة الاختراع فقد استعات الشركة عن الأزرار الرئيسية بازرار افتراضية، وبالتالي تعر الشاشة كافة المحتويات في كل الاتجاهات.














